服務熱線
0755-83129970
2025-12-19
2025-12-19
2025-12-19
2025-12-19
2025-12-19
2025-12-19
2022-11-30 17:29:11
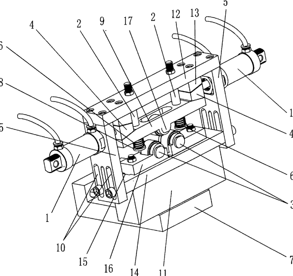
?美國Arobotech制造的中心架廣泛用于中國汽車發動機廠,柴油機廠的曲軸切削生產流水線,傳動軸車,切削生產流水線。在其中Arobotech公司制造的中心架GR6030V的用處是:內部結構運載有地方意見反饋感應器,用于數控車床生產流水線零件運載臂縮回去應用,固定不動或追隨和操作2軸軸線的變化。
切削中心架用在哪兒?切削中心架的用處十分廣泛,如珩磨機、超精加工數控車床、砂帶磨床、研磨設備和研磨拋光機等。由于切削中心架是經典工藝流程復合機床。選用前沿的加工工藝,用各種沙輪片的搭配形式產生系列產品,磨削加工在機械設備制造中是一種應用尤其廣泛加工工藝。
它是以模具為專用工具在數控磨床中進行磨削加工,還能夠進行其他數控車床較難生產加工的原材料,如淬火鋼、硬質合金刀具、夾層玻璃、瓷器等生產加工。精密工具磨床工藝范疇比較寬,可切削里外圓面和圓錐面、平面圖、傳動齒輪齒廓面、螺旋面及各類成型面等。
美國AROBOTECH中心架GR6030V因為該產品應用非常廣泛,市場需求大,深圳市歐德捷科技有限公司利用美國自有公司的優勢,采購過多次Arobotech的中心架。始終堅持以優質的服務和價格給客戶提供產品和支持。
